Меню
Внимание! На сайте ведутся технические роботы. Цены и наличие уточняйте по телефону.
Закрыть
Информация
Информация
Про нас
Доставка и оплата
Возврат и обмен
Политика конфиденциальности и cookies
Публичная оферта
ГОСТы
РАЗПРОДАЖА
ГОСТ 10299-80
ГОСТ 10300-80
ГОСТ 10301-80
ГОСТ 10302-80
ГОСТ 10303-80
ГОСТ 10304-80
ГОСТ 10336-80
ГОСТ 10337-80
ГОСТ 10338-80
ГОСТ 10339-80
ГОСТ 10340-80
ГОСТ 10341-80
ГОСТ 10342-80
ГОСТ 10343-80
ГОСТ 10344-80
ГОСТ 10450-78
ГОСТ 10461-81
ГОСТ 10462-81
ГОСТ 10463-81
ГОСТ 10464-81
ГОСТ 10505-76
ГОСТ 10506-76
ГОСТ 10602-72
ГОСТ 10602-94
ГОСТ 10605-72
ГОСТ 10605-94
ГОСТ 10608-72
ГОСТ 10610-72
ГОСТ 10618-80
ГОСТ 10619-80
ГОСТ 10620-80
ГОСТ 10621-80
ГОСТ 10773-93
ГОСТ 10774-80
ГОСТ 10906-78
ГОСТ 11074-93
ГОСТ 11075-93
ГОСТ 11371-68
ГОСТ 11371-78
ГОСТ 1144-80
ГОСТ 1145-80
ГОСТ 1146-80
ГОСТ 1147-80
ГОСТ 11473-75
ГОСТ 11644-75
ГОСТ 11648-75
ГОСТ 11650-80
ГОСТ 11651-80
ГОСТ 11652-80
ГОСТ 11738-84
ГОСТ 11872-80
ГОСТ 11872-89
ГОСТ 11964-81
ГОСТ 12207-79
ГОСТ 12458-67
ГОСТ 12459-67
ГОСТ 12463-67
ГОСТ 12638-80
ГОСТ 12639-80
ГОСТ 12640-80
ГОСТ 12641-80
ГОСТ 12642-80
ГОСТ 12643-80
ГОСТ 12644-80
ГОСТ 12850-80
ГОСТ 12850.1-93
ГОСТ 12850.2-93
ГОСТ 12943-67
ГОСТ 13039-83
ГОСТ 13428-68
ГОСТ 13429-68
ГОСТ 13430-68
ГОСТ 13431-68
ГОСТ 13432-68
ГОСТ 13433-68
ГОСТ 13434-68
ГОСТ 13435-68
ГОСТ 13438-68
ГОСТ 13439-68
ГОСТ 13463-77
ГОСТ 13464-77
ГОСТ 13465-77
ГОСТ 13466-77
ГОСТ 13840-68
ГОСТ 13896-68
ГОСТ 13897-68
ГОСТ 13940-86
ГОСТ 13941-86
ГОСТ 13942-86
ГОСТ 13943-86
ГОСТ 14110-80
ГОСТ 14110-97
ГОСТ 14229-93
ГОСТ 14724-69
ГОСТ 14725-69
ГОСТ 14727-69
ГОСТ 14728-69
ГОСТ 14731-69
ГОСТ 14734-69
ГОСТ 1476-93
ГОСТ 1477-93
ГОСТ 1478-93
ГОСТ 1479-93
ГОСТ 14797-85
ГОСТ 14798-85
ГОСТ 14799-85
ГОСТ 14800-85
ГОСТ 14801-85
ГОСТ 14802-85
ГОСТ 14803-85
ГОСТ 1481-84
ГОСТ 1482-84
ГОСТ 1483-84
ГОСТ 1485-84
ГОСТ 1486-84
ГОСТ 1488-84
ГОСТ 1491-80
ГОСТ 15163-78
ГОСТ 15512-70
ГОСТ 15521-70
ГОСТ 15522-70
ГОСТ 15525-70
ГОСТ 15589-70
ГОСТ 15590-70
ГОСТ 15591-70
ГОСТ 16016-2014
ГОСТ 16016-79
ГОСТ 16069-70
ГОСТ 16853-88
ГОСТ 17473-80
ГОСТ 17474-80
ГОСТ 17475-80
ГОСТ 1759-70
ГОСТ 1759.0-87
ГОСТ 1759.1-82
ГОСТ 1759.2-82
ГОСТ 1759.3-83
ГОСТ 1759.4-87
ГОСТ 1759.5-87
ГОСТ 17673-81
ГОСТ 17679-80
ГОСТ 17773-72
ГОСТ 17777-72
ГОСТ 17778-72
ГОСТ 18123-82
ГОСТ 18125-72
ГОСТ 18786-80
ГОСТ 18787-80
ГОСТ 18792-80
ГОСТ 18899-73
ГОСТ 18901-73
ГОСТ 19115-91
ГОСТ 19119-80
ГОСТ 19314-73
ГОСТ 19315-73
ГОСТ 19315-98
ГОСТ 20130-74
ГОСТ 20193-74
ГОСТ 20700-75
ГОСТ 2105-75
ГОСТ 21331-75
ГОСТ 21332-75
ГОСТ 21333-75
ГОСТ 21334-75
ГОСТ 21335-75
ГОСТ 21336-75
ГОСТ 21337-75
ГОСТ 21338-75
ГОСТ 21664-76
ГОСТ 2172-80
ГОСТ 21764-76
ГОСТ 21797-2014
ГОСТ 21797-76
ГОСТ 21892-76
ГОСТ 22076-76
ГОСТ 22194-83
ГОСТ 22195-83
ГОСТ 2224-93
ГОСТ 22355-77
ГОСТ 23157-78
ГОСТ 23304-78
ГОСТ 2387-80
ГОСТ 24193-80
ГОСТ 24194-80
ГОСТ 24197-80
ГОСТ 24296-80
ГОСТ 24296-93
ГОСТ 24379.0-2012
ГОСТ 24379.0-80
ГОСТ 24379.1-2012
ГОСТ 24379.1-80
ГОСТ 24670-81
ГОСТ 24671-84
ГОСТ 2524-70
ГОСТ 2528-73
ГОСТ 25556-82
ГОСТ 25573-82
ГОСТ 25815-83
ГОСТ 25933-83
ГОСТ 26805-2020
ГОСТ 26805-86
ГОСТ 26862-86
ГОСТ 26998-86
ГОСТ 27320-87
ГОСТ 28065-89
ГОСТ 28191-89
ГОСТ 283-75
ГОСТ 28456-90
ГОСТ 28457-90
ГОСТ 28778-2023
ГОСТ 28778-90
ГОСТ 28848-90
ГОСТ 28961-91
ГОСТ 28962-91
ГОСТ 28963-91
ГОСТ 28964-91
ГОСТ 30055-93
ГОСТ 3032-76
ГОСТ 30322-95
ГОСТ 3033-79
ГОСТ 3067-88
ГОСТ 3068-88
ГОСТ 3070-88
ГОСТ 3071-88
ГОСТ 3089-80
ГОСТ 3090-73
ГОСТ 3093-80
ГОСТ 3097-80
ГОСТ 3120-75
ГОСТ 3128-70
ГОСТ 3129-70
ГОСТ 3241-91
ГОСТ 4028-63
ГОСТ 4029-63
ГОСТ 4030-63
ГОСТ 4032-63
ГОСТ 4033-63
ГОСТ 4034-63
ГОСТ 4035-63
ГОСТ 4087-69
ГОСТ 4090-69
ГОСТ 483-75
ГОСТ 5918-73
ГОСТ 5919-73
ГОСТ 5931-70
ГОСТ 5932-73
ГОСТ 5933-73
ГОСТ 5935-73
ГОСТ 6402-70
ГОСТ 6627-74
ГОСТ 6628-73
ГОСТ 6750-75
ГОСТ 6958-78
ГОСТ 7675-73
ГОСТ 7676-73
ГОСТ 7783-81
ГОСТ 7785-81
ГОСТ 7786-81
ГОСТ 7787-81
ГОСТ 7795-70
ГОСТ 7796-70
ГОСТ 7798-70
ГОСТ 7801-81
ГОСТ 7802-81
ГОСТ 7805-70
ГОСТ 7808-70
ГОСТ 7811-70
ГОСТ 7817-80
ГОСТ 799-73
ГОСТ 8054-81
ГОСТ 809-2014
ГОСТ 809-2020
ГОСТ 809-71
ГОСТ 8144-73
ГОСТ 8878-93
ГОСТ 8918-69
ГОСТ 8922-69
ГОСТ 9048-69
ГОСТ 9049-69
ГОСТ 9051-68
ГОСТ 9052-69
ГОСТ 9060-69
ГОСТ 9065-75
ГОСТ 9464-79
ГОСТ 9465-79
ГОСТ 9649-78
ГОСТ 9870-61
ГОСТ EN 12385-1-2015
ГОСТ EN 12385-2-2015
ГОСТ EN 12385-3-2015
ГОСТ EN 12385-4-2015
ГОСТ ISO 10511-2016
ГОСТ ISO 10512-2016
ГОСТ ISO 12126-2016
ГОСТ ISO 14579-2015
ГОСТ ISO 14583-2015
ГОСТ ISO 15071-2014
ГОСТ ISO 2702-2015
ГОСТ ISO 4032-2014
ГОСТ ISO 4034-2014
ГОСТ ISO 4035-2014
ГОСТ ISO 4162-2014
ГОСТ ISO 7040-2014
ГОСТ ISO 7044-2016
ГОСТ ISO 7051-2014
ГОСТ ISO 7092-2016
ГОСТ ISO 7093-1-2016
ГОСТ ISO 7093-2-2016
ГОСТ ISO 7380-1-2014
ГОСТ ISO 7380-2-2014
ГОСТ ISO 7719-2014
ГОСТ ISO 8673-2014
ГОСТ ISO 8675-2014
ГОСТ ISO 9554-2013
ГОСТ Р 50076-92
ГОСТ Р 50090-92
ГОСТ Р 50271-92
ГОСТ Р 50272-92
ГОСТ Р 50273-92
ГОСТ Р 50274-92
ГОСТ Р 50290-92
ГОСТ Р 50336-92
ГОСТ Р 50337-92
ГОСТ Р 50338-92
ГОСТ Р 50383-92
ГОСТ Р 50384-92
ГОСТ Р 50385-92
ГОСТ Р 50386-92
ГОСТ Р 50387-92
ГОСТ Р 50388-92
ГОСТ Р 50389-92
ГОСТ Р 50403-92
ГОСТ Р 50404-92
ГОСТ Р 50405-92
ГОСТ Р 50406-92
ГОСТ Р 50417-92
ГОСТ Р 50592-93
ГОСТ Р 50790-95
ГОСТ Р 50791-95
ГОСТ Р 50792-95
ГОСТ Р 50793-95
ГОСТ Р 50794-95
ГОСТ Р 50795-95
ГОСТ Р 50796-95
ГОСТ Р 52627-2006
ГОСТ Р 52628-2006
ГОСТ Р 52646-2006
ГОСТ Р 52854-2007
ГОСТ Р 52855-2007
ГОСТ Р 53772-2010
ГОСТ Р 54271-2010
ГОСТ Р 54889-2012
ГОСТ Р 55739-2013
ГОСТ Р 55740-2013
ГОСТ Р 55741-2013
ГОСТ Р 56731-2015
ГОСТ Р 56731-2023
ГОСТ Р 57355-2016
ГОСТ Р 57899-2017
ГОСТ Р 58359-2019
ГОСТ Р 58360-2019
ГОСТ Р 58386-2019
ГОСТ Р 58387-2019
ГОСТ Р 58430-2019
ГОСТ Р 58753-2019
ГОСТ Р 58768-2019
ГОСТ Р 59571-2021
ГОСТ Р 59905-2021
ГОСТ Р ISO 10325-2012
ГОСТ Р ISO 10509-2013
ГОСТ Р ISO 10510-2013
ГОСТ Р ISO 10513-2009
ГОСТ Р ISO 10547-2012
ГОСТ Р ISO 10554-2012
ГОСТ Р ISO 10556-2012
ГОСТ Р ISO 10572-2012
ГОСТ Р ISO 10642-2012
ГОСТ Р ISO 10644-2017
ГОСТ Р ISO 10669-2017
ГОСТ Р ISO 10673-2017
ГОСТ Р ISO 1207-2013
ГОСТ Р ISO 12126-2009
ГОСТ Р ISO 12474-2012
ГОСТ Р ISO 14579-2009
ГОСТ Р ISO 14580-2012
ГОСТ Р ISO 14583-2009
ГОСТ Р ISO 14584-2012
ГОСТ Р ISO 14585-2012
ГОСТ Р ISO 14586-2012
ГОСТ Р ISO 14587-2012
ГОСТ Р ISO 14588-2005
ГОСТ Р ISO 14589-2005
ГОСТ Р ISO 1479-2013
ГОСТ Р ISO 1481-2013
ГОСТ Р ISO 1482-2013
ГОСТ Р ISO 1483-2013
ГОСТ Р ISO 15072-2013
ГОСТ Р ISO 1580-2013
ГОСТ Р ISO 15973-2005
ГОСТ Р ISO 15974-2005
ГОСТ Р ISO 15977-2017
ГОСТ Р ISO 15978-2017
ГОСТ Р ISO 15979-2017
ГОСТ Р ISO 15980-2017
ГОСТ Р ISO 15981-2017
ГОСТ Р ISO 15982-2017
ГОСТ Р ISO 2009-2013
ГОСТ Р ISO 2010-2013
ГОСТ Р ISO 2702-2009
ГОСТ Р ISO 2702-93
ГОСТ Р ISO 4014-2013
ГОСТ Р ISO 4016-2013
ГОСТ Р ISO 4017-2013
ГОСТ Р ISO 4018-2013
ГОСТ Р ISO 4026-2013
ГОСТ Р ISO 4027-2013
ГОСТ Р ISO 4028-2013
ГОСТ Р ISO 4029-2013
ГОСТ Р ISO 4161-2013
ГОСТ Р ISO 4762-2012
ГОСТ Р ISO 4766-2013
ГОСТ Р ISO 7042-2011
ГОСТ Р ISO 7044-2009
ГОСТ Р ISO 7045-2013
ГОСТ Р ISO 7046-1-2013
ГОСТ Р ISO 7046-2-2013
ГОСТ Р ISO 7047-2013
ГОСТ Р ISO 7048-2013
ГОСТ Р ISO 7049-2012
ГОСТ Р ISO 7049-93
ГОСТ Р ISO 7050-2012
ГОСТ Р ISO 7050-93
ГОСТ Р ISO 7051-93
ГОСТ Р ISO 7721-2-2011
ГОСТ Р ISO 7721-2011
ГОСТ Р ISO 8676-2013
ГОСТ Р ISO 8741-93
ГОСТ Р ISO 8742-93
ГОСТ Р ISO 8743-93
ГОСТ Р ISO 8745-93
ГОСТ Р ISO 8746-93
ГОСТ Р ISO 8747-93
ГОСТ Р ISO 8765-2013
Время работы:
Пн - Пт - 08:00 - 17:00
Сб - выходной
Вс - выходной
Телефоны:
+380 (67) 577-73-30
+380 (66) 039-06-58
+380 (73) 577-73-30
Почта:
vadis0675777330@gmail.com
Мессенджеры:
Telegram
Viber
WhatsApp
Messenger
Наш адрес:
ООО «ПП ВАДИС-М», Украина, г.Харьков, ул. Кашубы 10
+380 (67) 577-73-30
+380 (66) 039-06-58
+380 (73) 577-73-30
Пн - Пт - 08:00 - 17:00
Сб - выходной
Вс - выходной
Наш адрес
ООО «ПП ВАДИС-М», Украина, г.Харьков, ул. Кашубы 10
+380 (67) 577-73-30
+380 (66) 039-06-58
+380 (73) 577-73-30
Пн - Пт - 08:00 - 17:00
Сб - выходной
Вс - выходной
Перейти в контакты
Время работы
Пн - Пт - 08:00 - 17:00
Сб - выходной
Вс - выходной
Доставка и оплата
Возврат и обмен
Отзывы
Госты
RU
UA
RU
Личный кабинет
0
0
0
+380 (67) 577-73-30
+380 (67) 577-73-30
+380 (66) 039-06-58
+380 (73) 577-73-30
Заказать звонок
0
0.00 грн
Оформить заказ
Список категорий
Мебельный крепеж
Монтажные изделия
Анкеры
Анкеры
Анкер для оконных и дверных рам
Анкеры распорные
Анкеры распорные
AN 217 Анкер клиновой
AN 228 Анкер закрытый с потайной головкой
AN 229 Анкер клиновой
AN 253 Анкер MOLLY
AN 257 Анкер ETAF
AN 79 Анкер клиновой
Анкер HDA-B с болтом для высоких нагрузок
Анкер HDA-N с гайкой для высоких нагрузок
Анкер LE с кожухом
Анкер LEM с кожухом
Анкер MTA для полых и листовых оснований
Анкер REDIBOLT
Анкер SLR двураспорный
Анкер TFC
Анкеры клиновые G&B
Анкеры клиновые G&B
Химические анкера
Анкерные винти
Анкерные винти
Анкер для строительных лесов
Винт HX по бетону
Анкеры-втулки распорные
Болты
Болты
Болт метрический
Болти з дюймовою різьбою
Болти з дюймовою різьбою
DIN 931 Болт с шестигранной головкой и частичной резьбой, дюймовой резьбой
Болти з дюймовою різьбою
DIN 931 Болт с шестигранной головкой и частичной резьбой UNC
DIN 931 Болт с шестигранной головкой и частичной резьбой UNF
DIN 933 Болт с шестигранной головкой и полной резьбой, дюймовой резьбой
Болти з дюймовою різьбою
DIN 933 Болт с шестигранной головкой и полной резьбой UNC
DIN 933 Болт с шестигранной головкой и полной резьбой UNF
DIN 912 Болт с цилиндрической головкой и внутренним шестигранником с дюймовой резьбой
Болти конструкційні HV
Болти конструкційні HV
DIN 6914 Болт высокопрочный с шестигранной головкой
DIN 6914 Болт высокопрочный с шестигранной головкой
DIN 7999 Болт высокопрочный с шестигранной головкой
EN 14399-4 Комплект высокопрочный HV
Болты с внутренним шестигранником
Болты с внутренним шестигранником
ART 88912 Болт с цилиндрической головкой, внутренним шестигранником и зубчатым фланцем
DIN 6912 Болт с цилиндрической головкой и внутренним шестигранником
DIN 7984 Болт с цилиндрической головкой и внутренним шестигранником
DIN 7991 Болт с потайной головкой и внутренним шестигранником
DIN 912 Болт с цилиндрической головкой и внутренним шестигранником
ISO 14579 Болт с цилиндрической головкой под torx
ISO 14580 Болт с цилиндрической уменьшенной головкой под torx
ISO 7379 Болт призонный с цилиндрической головкой
ISO 7380-1 Болт с полукруглой головкой и внутренним шестигранником
ISO 7380-1 Болт с полукруглой головкой под torx
ISO 7380-2 Болт с полукруглой головкой и внутренним шестигранником с фланцем
ISO 7380-2 Болт с полукруглой головкой под torx с фланцем
Болты с квадратной головкой / подголовником
Болты с квадратной головкой / подголовником
DIN 479 Болт с квадратной головкой
DIN 480 Болт с квадратной головкой
DIN 603 Болт с полукруглой головкой и квадратным подголовником
DIN 607 Болт с полукруглой головкой и выступлением (усом)
ISO 8678 Болт с полукруглой головкой и квадратным подголовником
Спецболт 1199-G полукркглая головка с квадратным подголовником
Болты с кольцом
Болты с кольцом
ART 8228 Рым-болт
ART 8230 Рым-болт
ART 8267 Рым-болт
DIN 444 B Болт откидной
DIN 444 LB Болт откидной
DIN 529-С Болт анкерный фундаментальный
DIN 580 Рым-болт
Болты с потайной головкой
Болты с потайной головкой
AN 263 Болт с потайной головкой
DIN 11014 Болт с потайной головкой и двома упорами
DIN 15237 Болт норийный
DIN 604 Болт с потайной головкой и выступлением (усом)
DIN 605 Болт с потайной головкой и гайкой
DIN 608 Болт с потайной головкой
DIN 7969 Болт с потайной головкой и прямым шлицем
DIN 7991 Болт с потайной головкой под torx
Спецболт 1199-A (DIN 608) потайной головкой и квадратним подголовником
Спецболт 1199-B (ISO 5713, DIN 11014) с потайной головкой и двумя упорами
Спецболт 1199-C с одним конусным срезом
Спецболт 1199-D с двумя конусными срезами
Спецболт 1199-E с двумя конусными срезами
Спецболт 1199-O с потайной овальной головкой и квадратным подголовником
Болты Т-образные
Болты Т-образные
AN 264 Болт-палец
AN 603 Болт Т-образный
ART 9038 Болт Т-образный
ART 9094 Болт Т-образный
ART 9095 Болт Т-образный
ART 9096 Болт Т-образный
ART 9097 Болт Т-образный
DIN 186 Болт Т-образный
DIN 188 Болт Т-образный
DIN 261 Болт Т-образный с шестигранной гайкой
Болты с шестигранной головкой
Болты с шестигранной головкой
AN 261 Болт гусеничный
DIN 561-A Болт с шестигранной головкой и цапфой
DIN 561-B Болт с шестигранной головкой и цапфой
DIN 564-A Болт с шестигранной головкой и конусным концом
DIN 564-В Болт с шестигранной головкой и конусным концом
DIN 601 Болт с шестигранной головкой и гайкой
DIN 609 Болт призонний с шестигранной головкой
DIN 610 Болт призонний с шестигранной головкой
DIN 6921 Болт с шестигранной головкой и фланцем
DIN 7643 Болт с шестигранной головкой и отверстиями (болт Банджо)
DIN 7968 Болт призонный с шестигранной головкой
DIN 7990 Болт с шестигранной головкой и частичной резьбой и гайкой
DIN 931 Болт с шестигранной головкой и частичной резьбой
DIN 933 Болт с шестигранной головкой и полной резьбой
DIN 960 Болт с шестигранной головкой и частичной резьбой, мелкий шаг резьбы
DIN 961 Болт с шестигранной головкой и полной резьбой, мелкий шаг резьбы
ISO 4014 Болт с шестигранной головкой и частичной резьбой
Болт сегмента жатки Schumacher
Винты
Винты
Винт мебельный
Винты метрические
Винты антивандальные
Винты антивандальные
ART 9101 Винт антивандальный с полукруглой головкой
ART 9103 Винт антивандальный с потайной головкой
ART 9111 Винт антивандальный с полукруглой головкой
ART 9113 Винт антивандальный с потайной головкой
ART 9121 Винт антивандальный с полукруглой головкой
ART 9123 Винт антивандальный с потайной головкой
ART 9131 Винт антивандальный с полукруглой головкой
ART 9155 Винт антивандальный
Винты приварные
Винты приварные
AN 357 Винт запресовочний
ISO 13918-PT Винт приварной
ISO 13918-ІT Втулка приварная
Винты с накаткой
Винты с накаткой
DIN 464 Винт с накатанной головкой
DIN 465 Винт с накаткой и прямым шлицем
DIN 653 Винт с накаткой
Винты с полукруглой головкой
Винты с полукруглой головкой
AN 605 Винт с полукруглой головкой для профилей
DIN 7500 C Винт с полукруглой головкой самонарезающий
DIN 7513 B Винт с цилиндрической головкой самонарезающийся
DIN 7516 А Винт с полукруглой головкой самонарезающий
DIN 7985 Винт с полукруглой головкой
DIN 84 Винт с полукруглой головкой и прямым шлицем
DIN 85 Винт с полукруглой головкой и прямым шлицем
DIN 920 Винт с полукруглой уменьшенной головкой
DIN 967 Винт с полукруглой головкой и прессшайбой
ISO 14583 Винт с полукруглой головкой под torx
NFE 25-129 Винт с полукруглой головкой и крестообразным шлицем
NFE 27-128 Винт с полукруглой головкой и прямым шлицем
Винты с полупотайной головкой
Винты с полупотайной головкой
DIN 7516 E Винт с полупотайной головкой самонарезающий
DIN 964 Винт с полупотайной головкой и прямым шлицем
DIN 966 Винт с полупотайной головкой
ISO 14584 Винт с полупотайной головкой под torx
Винты с потайной головкой
Винты с потайной головкой
ART 3401 Винт конфирмат с потайной головкой
DIN 7500 M Винт с потайной головкой самонарезающий
DIN 7516 D Винт с потайной головкой самонарезающий
DIN 963 Винт с потайной головкой и прямым шлицем
DIN 965 Винт с потайной головкой и крестообразным шлицем
ISO 14581 Винт с потайной головкой под torx
Винты установочные
Винты установочные
AN 420 Винт установочный с прямым шлицем и шариком
AN 432 Винт с шариком
DIN 417 Винт установочный с цилиндрическим концом и прямым шлицем
DIN 427 Винт установочный с прямым шлицем
DIN 438 Винт установочный с прямым шлицем и засверленим концом
DIN 551 Винт установочный с прямым шлицем и плоским концом
DIN 553 Винт установочный с прямым шлицем и коническим концом
DIN 913 Винт установочный с внутренним шестигранником
DIN 913 Винт установочный с внутренним шестиуольником и плоским концом
DIN 914 Винт установочный с внутренним шестиугольником и коническим концом
DIN 915 Винт установочный с внутренним шестигранником и цапфой
DIN 916 Винт установочный с внутренним конусом
DIN 923 Винт ступенчатый установочный с цилиндрической головкой и прямым шлицем
Другие винты
Другие винты
AN 68 Стяжка мебельная
ART 1316-A Гвинт с плоской головкой под внутренний шестигранник
ART 1317-A Винт с плоской головкой под внутренний шестигранник
ART 9078 Винт с кольцом
ART 9081 Винт с крючком
DIN 404 Винт с цилиндрической головкой и отверстиями
DIN 7500 D Винт с шестигранной головкой и прессшайбой
DIN 7500 E Винт с цилиндрической головкой самонарезающий
DIN 7513 А Винт с шестигранной головкой самонарезающий
DIN 7964 Винт невыпадающий
DIN 921 Винт с увеличенной цилиндрической головкой и прямым шлицем
DIN 927 Винт с цапфой и прямым шлицем
Винты барашковые
Винты барашковые
DIN 316 Винт Барашковый амер. форма
DIN 316 Винт Барашковый нем. форма
Гайки
Гайки
Вставки / Втулки
Вставки / Втулки
AN 330 Вставка резьбовая
AN 335 Вставка резьбовая
AN 337 Вставка резьбовая самонарезающие
ART 82 Втулка шестигранная с дюймовой резьбой
ART 9058 Вставка резьбовая
ART 9070 Гайка втулка цилиндровая
ART 9071 Гайка втулка шестигранная
DIN 8140 Вкладка резьбовая
JRN Втулка несиметрична
Гайки барашковые
Гайки барашковые
DIN 315 Гайка Барашкова амер.форма
DIN 315 Гайка Барашковая нем.форма
Гайки дюймові
Гайки дюймові
DIN 431 Гайка низкая трубная с дюймовой резьбой
DIN 934 Гайка шестигранная с дюймовой резьбой
Гайки дюймові
DIN 934 Гайка шестигранная с дюймовой резьбой UNC
DIN 934 Гайка шестигранная с дюймовой резьбой UNF
Гайки колпачковые
Гайки колпачковые
AN 283 Колпачок пластиковый
ART 81 Колпачок шестигранный с дюймовой резьбой
DIN 1587 Гайка колпачковая
DIN 917 Гайка колпачковая
DIN 986 Гайка колпачковая самоконтрящая
Гайки конструкційні HV
Гайки конструкційні HV
DIN 6915 Гайка высокопрочная шестигранная
DIN 6915 Гайка высокопрочная шестигранная
DIN 934 SB Гайка высокопрочная шестигранная
Гайки корончатые
Гайки корончатые
DIN 935 Гайка корончатая
DIN 937 Гайка корончатая низкая
DIN 979 Гайка корончатая
Гайки приварные
Гайки приварные
ART 9060 Гайка приварная
ART 9064 Гайка запрессована
DIN 928 Гайка квадратная приварная
DIN 929 Гайка приварная
Гайка запрессованная
Гайки с накаткой
Гайки с накаткой
DIN 466 Гайка с накаткой
DIN 467 Гайка с накаткой
Гайки с фланцем
Гайки с фланцем
AN 608 Гайка шестигранная с фланцем для профилей
ART 9085 Гайка комбинированная шестигранная с шайбой
DIN 6331 Гайка высокая шестигранная с фланцем
DIN 6923 Гайка шестигранная с фланцем
DIN 6926 Гайка самоконтрящаяся с фланцем
DIN 6927 Гайка самоконтрящаяся с фланцем
DIN 74361 H Гайка сферическая, шестигранная с фланцем
DIN 74361 H Гайка сферическая, шестигранная с фланцем
Гайки самоконтрящие
Гайки самоконтрящие
DIN 6924 Гайка самоконтрящая
DIN 6925 Гайка самоконтрящая
DIN 980 Гайка самоконтрящаяся
DIN 982 Гайка самоконтрящаяся высокая
DIN 985 Гайка самоконтрящаяся с нейлоновым кольцом
Гайки шлицевые
Гайки шлицевые
AN 86 Гайка шлицевая
DIN 1804 Гайка шлицевая круглая
DIN 546 Гайка круглая шлицевая
DIN 981 Гайка шлицевая
Другие гайки
Другие гайки
1508 Гайка Ериксона с плоской головкой
AN 126 Гайка U-типа
AN 326 Гайка закладная
AN 422 Муфта резьбовая до дерева
AN 87 Гайка закладная
AN 88 Гайка Эриксона со сферической головкой
ART 1507 Гайка Еріксона со сферической головкой
ART 9061 Гайка-муфта с прямым шлицем
ART 9062 Гайка-муфта с внутренним шестигранником
ART 9262 Гайка с внутренним шестигранником
ART 9305 Гайка антивандальная
DIN 1624 Гайка забивная
DIN 508 Гайка T-образная
DIN 557 Гайка квадратная
DIN 562 Гайка квадратная
АN 117 Гайка цилиндрическая с трапецевидной резьбой
АN 89 Гайка переходная
Гайка анкерная для камня
Гайка врезная мебельная
Гусеничные колесные гайки
Заглушки / Пробки резьбовые
Заглушки / Пробки резьбовые
AN 284 Заглушка пластиковая
ART 79 Заглушка шестигранная с дюймовой резьбой
DIN 5586 Заглушка резьбовая с шестигранной головкой и фланцем
DIN 7604 Заглушка резьбовая с шестригранной головкой и фланцем
DIN 906 Заглушка резьбовая
DIN 908 Заглушка резьбовая
DIN 909 Заглушка резьбовая коническая с шестигранной головкой
DIN 910 Заглушка резьбовая
Рым-гайки
Рым-гайки
DIN 319-E Сферическая ручка с резьбовой вставкой
DIN 582 Рым-Гайка
DIN 80701 Гайка рычажковая
DIN 80704 Рым-гайка швартовая
DIN 99-N Гайка-ручка зажимная
Гайки шестигранные
Гайки шестигранные
AN 379 Гайка самозаклепочная шестигранная
AN 85 Гайка шестигранная соединительная
DIN 122 Гайка шестигранная с трацепевидной резьбой
DIN 1479 Гайка шестигранная с двумя отверстиями
DIN 2510-5 NF Гайка шестигранная
DIN 439 Гайка шестигранная низкая
DIN 555 Гайка шестигранная
DIN 6330 Гайка высокая шестигранная
DIN 6334 Гайка высокая шестигранная
DIN 7967 Гайка стопорная пружинная
DIN 934 Гайка шестигранная
DIN 936 Гайка низкая шестигранная
ISO 4032 Гайка шестигранная
ISO 8673 Гайка шестигранная
UNI 5587 Гайка шестигранная
Фитинги резьбовые
Фитинги резьбовые
ART 67 Ниппель заварной с дюймовой резьбой
ART 68 Муфта-розетка соединительная с дюймовой резьбой
ART 77 Ниппель с шестигранником с дюймовой резьбой
ART 78 Ниппель удлиненный с дюймовой резьбой
ART 24 Муфта резьбовая
Дюбеля
Дюбеля
Дюбели для пустотелых основ
Дюбели гипсокартонные
Дюбели гипсокартонные
AN 289 Дюбель пластиковый для изоляции
AN 302 Анкер для гипсокартона
AN 309 Анкер для гипсокартона
Дюбель ETNF
Дюбель TZ
Дюбели стальные
Дюбели стальные
AN 214 Дюбель в бетон с внутренней резьбой (Анкер)
AN 215 Дюбель забивной (Анкер)
AN 216 Дюбель (Анкер)
AN 306 Анкер быстрого монтажа
Дюбели универсальные
Дюбели универсальные
Дюбель ПСМТ Т-образный
AN 244 Дюбель универсальный
AN 250 Дюбель для быстрого монтажа
AN 301 Дюбель нейлоновый к бетону
AN 303 Дюбель для бетона
AN 304 Дюбель полипропиленовый к бетону
NB Дюбель з буртиком
Анкер T88 з шурупом
Дюбель T6
Дюбель TPFC
Дюбель UCX з ударним шурупом, з циліндричним буртиком
Дюбелі для теплоізоляції
Дюбелі для теплоізоляції
DPP Дюбель для пенопласта
GOK Дюбель тарельчатый для кровли
Дюбели фасадные
Заклепки
Заклепки
Інші заклепки
Інші заклепки
AN 402 Заклепка-клема вытяжная
DIN 7338-A Заклепка c плоской головкой
DIN 7338-B Заклепка забивная, пустотелая с плоской головкой
DIN 7338-С Заклепка забивная, пустотелая с плоской головкой
Заклепка-клема вытяжная
Шпилька клепальная
Заклепки вытяжные
Заклепки вытяжные
Заклепка Hard Lock
Заклепка MULTIGRIP многозажимная
Заклепка Trebol
Заклепка вытяжная герметичная с плоским буртиком
Заклепка вытяжная герметичная с плоским потайным буртиком
Заклепка вытяжная герметичная с плоским увеличенным буртиком
Заклепка вытяжная с плоским буртиком
Заклепка вытяжная с плоским потайным буртиком
Заклепка вытяжная с плоским увеличенным буртиком
Заклепка для дерева рифленая
Заклепка усилена с двойным замком, конструкционная
Заклепка четырехлепестковая
Клепальные гайки
Клепальные гайки
AN 247 Клепальная гайка Jack Nut
AN 310 Клепальная гайка с буртиком гладкая
AN 315 Клепальная гайка с буртиком рифленая
AN 318 Клепальная гайка с потайным буртиком рифленая
AN 320 Клепальная гайка с потайным буртиком рифленая (малый потай)
AN 322 Клепальная гайка шестигранная с буртиком
AN 323 Клепальная гайка шестигранная с потайным буртиком
AN 324 Клепальная гайка с буртиком рифленая герметичная
AN 325 Клепальная гайка с потайным буртиком рифленая герметичная
ART 9317 Клепальная гайка частично шестигранная с буртиком
ART 9318 Клепальная гайка частично шестигранная с потайным буртиком
Клепальная гайка с плоским буртиком
Клепальная гайка с потайным буртиком
Клепальная гайка с увеличенным буртиком
Клепальная гайка с уменьшенным буртиком
Клепальная гайка цилиндрическая с потайным буртиком
Клепальная гайка частично шестигранная с плоским буртиком
Клепальная гайка частично шестигранная с потайным буртиком
Клепальная гайка частично шестигранная с увеличенным буртиком
Клепальная гайка частично шестигранная с уменьшенным буртиком
Клепальная цилиндрическая гайка с плоским буртиком.
Клепальная цилиндрическая гайка с увеличенным буртиком
Клепальная цилиндрическая гайка с уменьшенным буртиком
Клепальная шестигранная гайка с увеличенным буртиком
Клепальная шестигранная гайка с уменьшенным буртиком
Заклепки под молоток
Заклепки под молоток
DIN 660 Заклепка под молоток с полукруглой головкой
DIN 661 Заклепка под молоток с потайной головкой
DIN 662 Заклепка под молоток с полутайной головкой
DIN 674 Заклепка под молоток с низкой полукруглой головкой
Крепления для солнечных панелей
Крепления для солнечных панелей
AN 601 Гайка для профилей
AN 602 Гайка прижимная для профиля
AN 604 Гайка прижимная для профиля
AN 606 Гайка прижимная для профиля
AN 607 Гайка прижимная для профиля
AN 612 Болт Т-образный
ART 613 Гайка монтажная
ART 9082 Винт-шуруп комбинированный (сантехшпилька)
ART 9082 Шайба-прокладка EPDM
ART 9199 Гайка квадратна
ART 9211 Винт-шуруп комбинированный (сантехшпилька)
ART 9431 Гайка прижимна для профіля
ART 9521 Кронштейн крепления для солнечных систем
ART 9525 Кронштейн крепления для солнечных систем
ART 9543 Пластина переходная
ART 9583 Зажим для швов под углом
ART 9583 Зажим под углом
ART 9742 Модуль для стекла AluF22 EPDM
ART 9745 Модуль для стекла AluF22 EPDM
Оснастка для яхт
Оснастка для яхт
Другое
Другое
ART 8144 Палець
ART 8155 Кольцо для ключей
ART 8161 Швартовый амортизатор
ART 8190 Пояс обшивки
ART 8191 Пояс обшивки
ART 8229 Кольцо
ART 8302 Якорь
ART 8376 Полукольцо дельта
Замки
Замки
ART 8050 Замок
ART 8053 Замок
ART 8081 Замок
ART 8117 Замок
ART 8181 Замок
Кнехты и клюзы
Кнехты и клюзы
ART 8100 Кнехт швартовый
ART 8219 Полуклюз открытый левый и правый
ART 8220 Полуклюз прямой
Крюки
Крюки
ART 8160 S-Крючок симметричный
ART 8370 Крючок для одежды
ART 8375 Крючок для одежды
ART 8384 Крючок
DIN 689 Крюк такелажный
Обушки
Обушки
ART 8223 Обушок на ромбовой основе
ART 8224 Обушок на прямоугольной основе
ART 8225 Обушок на квадратной основе
ART 8264 Обушок на ромбовой основе
ART 8265 Обушок с кольцом
ART 8266 Обушок
ART 8353 Обушок на круглой основе
ART 8396 Обушок на квадратной основе
ART 8397 Обушок с кольцом
Петли
Петли
ART 27 Петля
ART 8018 Петля
ART 8041 Петля 55x40
ART 8043 Петля 130x40
ART 8044 Петля 70x40
ART 8045 Петля
ART 8046 Петля
ART 8047 Петля
ART 8048 Петля 185x40
ART 8049 Петля
ART 8130 Петля
ART 8150 Петля
ART 8151 Петля 90x60
ART 8152 Петля 95x60
ART 8233 Петля
ART 8234 Петля
ART 8235 Петля
ART 8237 Петля
ART 8238 Петля 71x28
ART 8280 Петля
ART 8281 Петля
ART 8321 Петля
ART 8428 Петля
ART 8429 Петля
Такелажные блоки
Такелажные блоки
AN 109 Такелажный блок одинарний
AN 110 Такелажный блок одинарний з вертлюгом
AN 111 Такелажный блок двойной
ART 8369 Блок такелажный с вертлюгом
ART 8389 Блок такелажный одношкивный с пальцем
ART 8390 Двойной блок такелажный с вертлюгом
ART 8392 Такелажний блок з вертлюгом
ART 8393 Такелажний блок з вертлюгом
Утки
Утки
ART 8217 Утка швартовая с 4 отверстиями
ART 8218 Утка швартовая с 4 отверстиями
ART 8232 Утка швартовая потайная
ART 8298 Утка швартовая с 2 отверстиями
ART 8367 Утка швартовая
Наконечники
Оковки и кронштейны
Оковки и кронштейны
ART 8127 Оковка
ART 8226 Оковка
ART 8272 Кронштейн
ART 8274 Кронштейн
ART 8328 Кронштейн
ART 8329 Кронштейн
ART 8366 Оковка
Піни, Клеї, Герметики
Піни, Клеї, Герметики
Герметики
Герметики
Герметики акрилові
Герметики поліуретанові
Герметики силіконові
Герметики спеціальні
Клеї
Клеї
T-REX монтажні клеї посилені волокном
Клеї для деревини
Клеї для покриттів
Клеї конструкційні
Клеї монтажні
Клеї-герметики на основі SMX-polymer
Піни
Піни
Піни для ручного застосування
Піни під пістолет
Саморезы
Саморезы
Саморез со сверлом
Саморезы по металлу
Саморезы с буром
Саморезы с буром
AN 208 Саморез с потайной головкой и буром для гипсокартона металл
AN 209 Саморез с потайной головкой оконный
AN 211 Саморез с шестигранной головкой и шайбой EPDM
AN 212 Саморез с шестигранной головкой и шайбой EPDM
ART 9040 Саморез по дереву Super-Drill CSK с потайной головкой и буром под TORX
DIN 7504 K Саморез с шестигранной головкой и буром
DIN 7504 KL Саморез с шестигранной головкой и буром та прямим шлицем
DIN 7504 KO Саморез с шестигранной головкой с буром и шайбой EPDM
DIN 7504 M (N) Саморез с полукруглой головкой и буром
DIN 7504 O Саморез с потайной головкой и буром
DIN 7504 P Саморез с потайною головкой и буром
DIN 7504 Q Самореіз с полупотайной головкой и буром PH
DIN 7504 T Саморез с полукруглой головкой и пресс-шайбой с буром
DIN 7504-W Саморез с потайной головкой и буром оконний
DIN 7504-WM Саморез с потайной головкой и буром
DIN 7504-WMr Саморез с потайной головкой и буром
DIN 7504-Wr Саморез с потайной головкой и буром оконний с насечками
ISO 15480 K Саморез с шестигранной головкой
Саморезы STITCHER (Винты)
Саморезы с полукруглой головкой
Саморезы с полукруглой головкой
ART 9065 Саморез с полукруглой головкой и крестообразным шлицем
ART 9066 Саморез с полукруглой головкой и шайбой поліамід
ART 9100 Саморез антивандальный с полукруглой головкой
ART 9105 Саморез антивандальный с полукруглой головкой
ART 9110 Саморез антивандальный с полукруглой головкой
ART 9125 Саморез с полукруглой головкой под torx
DIN 7971-C Саморез с полукруглой головкой и прямым шлицем
DIN 7971-F Саморез с полукруглой головкой и прямым шлицем
DIN 7981-C Саморез с полукруглой головкой
DIN 7981-F Саморез с полукруглой головкой
DIN 968 Саморез с полукруглой головкой и пресс-шайбой
ISO 14585-C Саморез с полукруглой головкой под torx
ISO 14585-F Саморез с полукруглой головкой под torx
Саморезы с полупотайной головкой
Саморезы с полупотайной головкой
AN 171 Саморіз для термопластику
ART 9104 Саморез антивандальный с полупотайной головкой
ART 9120 Саморез антивандальный с полукруглой головкой
DIN 7973 Саморез с полупотайной головкой и прямым шлицем
DIN 7983 Саморез с полупотайной головкой
ISO 14587 Саморез с полупотайной головкой под torx
Саморезы с шестигранной головкой
Саморезы с шестигранной головкой
AN 213 Саморез с шестигранной головкой для сэндвич-панелей с шайбой EPDM
ART 7504-17s Саморез Timberfast с шестигранной головкой и пресшайбой EPDM
ART 9051 Саморез с цилиндрической головкой и внутренним шестигранником
ART 9057 тип A Саморез с шестигранной головкой и шайбой EPDM 16мм
ART 9057 тип B Саморез с шестигранной головкой и шайбой EPDM 16мм
ART 9059 тип A Саморез с шестигранной головкой и шайбой EPDM 19мм
ART 9059 тип B Саморез с шестигранной головкой и шайбой EPDM 19мм
ART 9098 тип A Саморез с шестигранной головкой и шайбой EPDM 22мм
ART 9098 тип B Саморез с шестигранной головкой и шайбой EPDM 22мм
DIN 6928-C Саморез с шестигранной головкой и пресс-шайбой
DIN 7976 Саморез с шестигранной головкой
ISO 7053-C Саморез с шестигранной головкой и пресс-шайбой
Саморезы с потайной головкой
Саморезы с потайной головкой
AN 206 Шуруп для гипсокартона с потайной головкой
AN 207 Шуруп для гипсокартона с потайной головкой
AN 210 Саморез для окон с потайной головкой
ART 9042 Саморез с потайной головкой под torx
ART 9102 Саморез антивандальный с потайной головкой
ART 9112 Саморез антивандальный с потайной головкой
ART 9122 Саморез антивандальный с потайной головкой
DIN 7504-WL Саморез с потайной головкой и буром оконний с насечками
DIN 7504-WSM Саморез с потайной головкой и буром оконний с насечками
DIN 7972 Саморез с потайной головкой и прямым шлицем
DIN 7982-C Саморез с потайной головкой
DIN 7982-F Саморез с потайной головкой
EB 89700 C Саморез с потайной головкой под torx
ISO 14586-C Саморез с потайной головкой под torx
ISO 14586-F Саморез с потайной головкой под torx
SDS-G Винт с потайной головкой для кровли
WS HI-LO Саморез с потайной головкой PH для ПВХ
WS Саморіз з потайною головкою PH для ПВХ
WSr Саморез с потайной головкой PH с насечками для ПВХ
Такелаж
Такелаж
Зажимы для троса
Зажимы для троса
AN 116 Зажим стальной
AN 124 Шкворень с пружинным защитой
AN 92 Кольцо соединительное
ART 8322 Норсеман с кольцом
ART 8323 Норсеман с вилкой
ART 8324 Наконечник для троса
ART 8326 Норсеман с резьбой
ART 8330 Зажим для троса SIMPLEX с одной гайкой
ART 8331 Зажим для троса DUPLEX с двумя гайками
ART 8374 Палец такелажный
ART 8424 Зажим для троса крестовый
ART 8426 Зажим для троса DOUBLE
ART 8427 Зажим для троса винтовой
ART 8620 Наконечник для троса с левой резьбой
DIN 1142 Зажим для троса с двумя гайками
DIN 3093 Зажим для троса
DIN 6899 Коуш
DIN 71752 G Вилочная головка
DIN 741 Зажим для троса с двумя гайками
Карабины
Карабины
ART 8001 Карабин пожарный
ART 8002 Карабин пожарный с кольцом
ART 8004 Карабин пожарный с муфтой
ART 8005 Карабин пожарный с кольцом и муфтой
ART 8010 Карабин пожарный
ART 8054 Карабин пожарный дельта
ART 8055 Карабин пожарный дельта с кольцом
ART 8153 Карабин с открытым кольцом
ART 8250 Карабин пожарный с кольцом
ART 8251 Карабин литой с пружинной защелкой
ART 8252 Карабин отстегивающийся с вертлюгом
ART 8253 Карабин винтовой
ART 8254 Вертлюг кольцо-кольцо
ART 8255 Вертлюг вилка-кольцо
ART 8256 Вертлюг вилка-вилка
ART 8257 Карабин зацепний с вертлюгом
ART 8297 Карабин отстегивающийся с мочкой
ART 8303 Карабин для строп с вертлюгом
ART 8661 Карабин отстегивающийся с вертлюгом
DIN 5299 C Карабин пожарный
Скобы
Скобы
AN 98 скобы такелажные
ART 8258 Скоба такелажная
ART 8259 Скоба такелажная
ART 8260 Скоба такелажная
ART 8261 Скоба такелажная
ART 8262 Скоба с вилкой
ART 8288 Скоба такелажная
ART 8334 Скоба такелажная
ART 8358 Скоба такелажная
ART 8359 Скоба такелажная
ART 8360 Скоба такелажная
DIN 82101 A Скоба прямая такелажная
Тросы
Тросы
ART 8035 Трос жесткий, плетение 1х19
ART 8036 Трос нержавеющий мягкий, плетение 7х19
DIN 3052 Трос стальной 1х7
DIN 3055 Трос сталевий
DIN 3060 Трос стальной 6х19 + FC
ISO 2408 Трос стальной 6х12 + FC
Цепи
Цепи
ART 8308 Ланка соединительная
DIN 5685 Цепь короткое звено
DIN 763 Цепь длинная ланка
DIN 766 Цепь короткая ланка
Талрепы
Талрепы
AN 99 Талреп открытый
ART 8021 Талреп вилка-вилка
ART 8245 Талреп закрытый вилка-вилка
ART 8246 Талреп открытый
ART 8275 Талреп
DIN 1478 Талреп закритий
DIN 1480 Талреп открытый
Хомуты, кляймеры
Хомуты, кляймеры
Стяжки кабельні
Стяжки кабельні
AN 114 Кабельная стяжка
Хомути
Хомути
AN 64 Z Замок для хомута DIN 3017-A
ART 3017 Хомут силовой Mini
ART 3018 Хомут пружинный
ART 60 Хомут трубный с дюймовой резьбой
ART 7354 Хомут
ART 7460 Хомут
ART 8461 Хомут
DIN 3016 Хомут с подкладкой EPDM
DIN 3017-A Хомут червячной
DIN 3017-C Хомут силовой
DIN 3567 Хомут трубный
DIN 3570 Хомут U-подобный
DIN 3575 Хомут П-образный
S-Хомут
~ DIN 3021 Хомут пружинный
Хомут CT-CLIP
Хомут ECAV
Хомут ECLIP
Хомут FL
Хомут V вентиляционный
Хомут затяжной с ключом
Кляймери
Шайбы
Шайбы
Другие шайбы
Другие шайбы
ART 9055 Шайба из EPDM
DIN 470 Шайба/заглушка глухая
DIN 6319-C Шайба сферическая
DIN 6319-D Шайба сферическая
DIN 6919-G Шайба сферическая
NFE 25-511-L Шайба контактная
NFE 25-511-M Шайба телефона
NFE 25-511-N Шайба контактна зубчастая
NFE 25-511-N Шайба контактная
NFE 27-619 Шайба конусная (розетка)
Стопорные кольца
Стопорные кольца
DIN 471 Кольцо стопорное наружное
DIN 472 Кольцо стопорное внутреннее
DIN 5417 Кольцо стопорное
DIN 6799 Кольцо стопорное
DIN 705 Кольцо установочное
DIN 7993-A Кольцо стопорное наружное
DIN 7993-B Кольцо стопорное внутреннее
DIN 983 Кольцо стопорное наружное сталь
Шайби конструкційні HV
Шайби конструкційні HV
DIN 6916 Шайба высокопрочная
Шайбы Nord-Lock
Шайбы Nord-Lock
AN 133 Шайба Nord Lock
AN 134 Шайба Nord Lock
DIN 25201 Шайба Heico-lock
Шайбы Starlock
Шайбы Starlock
AN 82 Шайба Starlock
AN 83 Шайба Starlock со колпачком
Шайбы плоские
Шайбы плоские
ART 9054 Шайба увеличенная
DIN 1052 Шайба для деревянных конструкций
DIN 125 Шайба плоская
DIN 126 Шайба плоска
DIN 1440 Шайба плоская усилена
DIN 1441 Шайба плоская
DIN 433 Шайба уменьшенная
DIN 436 Шайба квадратная
DIN 440 R Шайба увеличенная
DIN 440 V Шайба увеличенная
DIN 462 Шайба с внутренним выступом
DIN 463 Шайба стопорная с двумя лапками
DIN 6340 Шайба усилена
DIN 7349 Шайба усилена
DIN 7603 Шайба (Уплотнительное кольцо)
DIN 7989 Шайба усилена
DIN 9021 Шайба увеличенная
DIN 988-PS Шайба регулировочная
DIN 988-SS Шайба регулировочная
NFE 25-514 Шайба плоская
Шайбы пружинные
Шайбы пружинные
AN 130 Шайба тарельчатые пружинная Schnorr
DIN 127-B Шайба пружинная (Гровер)
DIN 128-A Шайба стопорная пружинная
DIN 128-B Шайба стопорная пружинная
DIN 137 Шайба пружинная волнистая
DIN 2093 Шайба пружинная тарельчатые
DIN 6796 Шайба тарельчатая
DIN 74361 C Гровер усилен
DIN 7980 Шайба пружинная (Гровер)
Шайбы стопорные
Шайбы стопорные
AN 120 Шайба стопорна
AN 121 Шайба стопорная Schnorr
AN 131 Шайба стопорная
AN 132 Шайба стопорная
ART 9093 Шайба стопорная
DIN 432 Шайба стопорная с наружным выступом
DIN 5406 Шайба многолапчатая
DIN 6797-A Шайба стопорная зубчатая
DIN 6797-J Шайба стопорная зубчатая
DIN 6797-V Шайба стопорная зубчатая
DIN 6798-A Шайба стопорная зубчатая
DIN 6798-D Шайба стопорная зубчатая
DIN 6798-J Шайба стопорная зубчатая
DIN 6798-V Шайба стопорная зубчатая
DIN 93 Шайба стопорная с лапкой
Шайбы косые
Шайбы косые
DIN 434 Шайба косая
DIN 435 Шайба косая
Шпильки резьбовые
Шпильки резьбовые
DIN 2510 NF Шпилька для фланцевых соединений
DIN 525 Шпилька резьбовая с приварной гайкой
DIN 835 Шпилька резьбовая с допуском 2D
DIN 938 Шпилька резьбовая с допуском 1d
DIN 939 Шпилька резьбовая с допуском 1,25d
DIN 975 8,8 цинк Шпилька с дюймовой резьбой UNC
DIN 975 Шпилька резьбовая
DIN 975 Шпилька с дюймовой резьбой UNF
DIN 975 Шпилька с трапециевидной резьбой
Резьбовая шпилька RG M FISCHER
Шплинты
Шплинты
Шплінти з кільцем
Шплінти з кільцем
AN 72 Шплинт D-образный для труб
ART 7383 Кольцо-шплинт
DIN 11023 Шплинт с кольцом пружинный
Шплінти пружинні
Шплінти пружинні
DIN 11024 Шплинт пружинный Форма D
DIN 11024 Шплинт пружинный Форма E
Шплінти розвідні
Шплінти розвідні
DIN 94 Шплинт разводной
Штифты
Штифты
Шпонки
Шпонки
DIN 6880 Шпонка стальная (L = 1000)
DIN 6885 Шпонка стальная
DIN 6887 Шпонка стальная
DIN 6888 Шпонка сегментная полукруглая
Штифты цилиндрические
Штифты цилиндрические
DIN 1434 B Штифт цилиндрический
DIN 1444-B Штифт с низкой головкой с отверстием
DIN 1473 Штифт цилиндрический с насечкой
DIN 1474 Штифт забивной цилиндрический с насечкой
DIN 1475 Штифт цилиндрический с центральной насечкой
DIN 1476 Штифт цилиндрический с полукруглой головкой
DIN 1477 Штифт цилиндрический с потайной головкой и насечкой
DIN 1481 Штифт пружинный цилиндрический
DIN 6325 Штифт цилиндрический закаленный
DIN 7 Штифт цилиндрический
DIN 7343 Штифт цилиндрический пружиный
DIN 7344 Штифт цилиндрический пружинный
DIN 7346 Штифт пружинный цилиндрический с прорезью
DIN 7979 Штифт цилиндрический с внутренней резьбой
Штифты конусные
Штифты конусные
DIN 1 Штифт конусный
DIN 1471 Штифт конусный с насечкой
DIN 1472 Штифт конусний с насечкой
DIN 258 Штифт конічний з різьбовою цапфою
DIN 7977 Штифт конический с резьбой и цапфой
DIN 7978 Штифт конический с внутренней резьбой
ISO 2339 Штифт конусный
Шурупы
Шурупы
Шурупы по дереву
Шурупы универсальные
Шурупы-саморезы по пластику
Шурупы з шестигранной головкой
Шурупы з шестигранной головкой
DIN 571 Шуруп сантехнический с шестигранной головкой
WB6P Шуруп з шестигранною головкою для сендвіч панелей Wkret-Met
Шурупы с кольцом / крючком
Шурупы с кольцом / крючком
Крюк-шуруп форма L
Шуруп с кольцом, форма O
Шурупы с кольцом / крючком
AN 303 Шуруп с кольцом
Шуруп с крючком, форма С
Шурупы с полукруглой головкой
Шурупы с полукруглой головкой
AN 115 Шуруп с полукруглой головкой и прессшайбой под torx
AN 127 Шуруп с полукруглой головкой и прессшайбой под torx
AN 204 Шуруп с полукруглой головкой и прессшайбой
AN 745 Шуруп с полукруглой головкой для термопластика
ART 88093 Шуруп с полукруглой головкой SPAX
ART 9048 Шуруп с полукруглой головкой
ART 9083 Шуруп с полукруглой головкой под torx
ART 9091 Шуруп с полукруглой головкой для термопластика с крестообразным шлицем
DIN 7996 Шуруп с полукруглой головкой и крестообразным шлицем
DIN 96 Шуруп с полукруглой головкой и прямым шлицем
Шурупы с полупотайной головкой
Шурупы с полупотайной головкой
ART 88092 Шуруп с полупотайной головкой SPAX
ART 9043 Шуруп для террасной доски под torx
ART 9049 Шуруп с полупотайной головкой
ART 9067 Шуруп с полупотайной головкой и шайбой EPDM
ART 9068 Шуруп с полупотайной головкой и шайбой EPDM 20мм
ART 9069 Шуруп с полупотайной головкой и шайбой EPDM 25мм
ART 9087 Шуруп с полупотайной головкой и шайбой EPDM 15 мм torx
ART 9088 Шуруп с полупотайной головкой и шайбой EPDM 20мм torx
ART 9089 Шуруп с полупотайной головкой и шайбой EPDM 25мм torx
DIN 7995 Шуруп с полупотайной головкой и крестообразным шлицем
DIN 95 Шуруп с полукруглой головкой и прямым шлицем
Шурупы с потайной головкой
Шурупы с потайной головкой
AN 112 Шуруп с потайной головкой под torx
ART 034.01 Винт конфирмат с потайной головкой
ART 1101 Шуруп с потайной головкой
ART 88091 Шуруп с потайной головкой SPAX
ART 88094 Шуруп с потайной головкой PZ SPAX
ART 88099 Шуруп с потайной головкой SPAX
ART 88188 Шуруп для окон с потайной головкой SPAX
ART 88189 Шуруп для фурнитуры в деревянных профилях с потайной головкой SPAX
ART 88190 Шуруп для штапика с потайной головкой SPAX
ART 9044 Шуруп с потайной головкой и буром под torx
ART 9050 Шуруп универсальный с потайной головкой
ART 9063 Шуруп с потайной головкой и крестообразным шлицем
ART 9090 Шуруп с потайной головкой для термопластика с крестообразным шлицем
ART 9092 Шупур с потайной головкой с крестообразным шлицем
ART 9142 Шуруп с потайной головкой под torx
ART 9143 Шуруп с потайной головкой под torx
ART 9241 Шуруп с потайной головкой i буром под torx
ART 9242 Шуруп с потайной головкой i буром под torx
DIN 7997 Шуруп с потайной головкой и крестообразным шлицем
DIN 97 Шуруп с потайной головкой и прямым шлицем
Шурупы для бетона
Шурупы для бетона
ART 9001-A Шуруп по бетону с потайной головкой под torx
ART 9001-B Шуруп по бетону с шестигранной головкой и фланцем
ART 9001-C Шуруп по бетону под шестигранный ключ
ART 9001-D Шуруп по бетону с полукруглой головкой под torx
Шурупы для термопластика PLASFAST
Шурупы конструкционные
Шурупы для гипсокартона
Шайбы
Шайбы
Стопорные кольца
Стопорные кольца
DIN 471 Кольцо стопорное наружное
DIN 6799 Кольцо стопорное
DIN 472 Кольцо стопорное внутреннее
Шайби конструкційні HV
Шайби конструкційні HV
DIN 6916 Шайба высокопрочная
Шайбы Nord-Lock
Шайбы Nord-Lock
AN 742 Шайба стопорная Nord-Lock
DIN 25201 Шайба Heico-lock
AN 133 Шайба Nord Lock
Шайбы пружинные
Шайбы пружинные
DIN 127-A Шайба пружинная (Гровер)
DIN 128-A Шайба стопорная пружинная
DIN 7980 Шайба пружинная (Гровер)
7XS00 VS Шайба пружинная с насечками
Шайбы плоские
Шайбы плоские
DIN 433 Шайба уменьшенная
DIN 440 R Шайба увеличенная
DIN 7349 Шайба усилена
DIN 9021 Шайба увеличенная
DIN 988 Шайба регулировочная
DIN 125 Шайба плоская
Инструменты
Инструменты
Биты, Отвертки и Сверла
Биты, Отвертки и Сверла
Бита ударная TACTIX
Буры и сверла
Монтажние пистолети
Монтажние пистолети
Монтажные пистолеты для заклепок
Монтажные пистолеты для клепальных гаек
Наборы расходных материалов
Отрезные круги
Смазочное оборудование
Смазочное оборудование
Мастильние шприци
Смазочное оборудование
Смазочный шприц 70 / PK
Смазочный шприц UMETA
Насадки на пресмаслянки
Шланги и трубки
Пресс-масленки
Смазочное оборудование
AN 282 Байонетная пресс-масленка
DIN 3402 Пресс-масленка с полукруглой головкой
DIN 3404 Пресс-масленка с плоской головой
DIN 3405 Пресс-масленка воронкообразная
DIN 71412 Пресс-масленка под запрессовку
DIN 71412-S Пресс-масленка с самонарезающие резьбой прямая 180 градусов
DIN 71412 Пресс-масленка гидравлическая
Шарнирные соединения
Другие инструменты
Другое
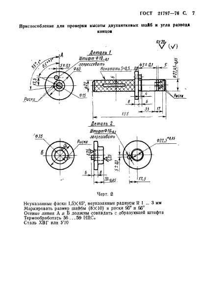
ГОСТ 21797-76
ГОСТ 21797-76
С поправками и изменениями:
Изменение №1 к ГОСТ 21797-76 от 01.12.1979 (текст интегрирован в текст или описание стандарта)
Изменение №2 к ГОСТ 21797-76 от 01.01.1988 (текст интегрирован в текст или описание стандарта)